00网

  • 首页
  • 国际
  • 财经
  • 科技
  • 教育
  • 家居
  • 网络
  • 历史
  • 内蒙古新增本土确诊病例28例︰(内蒙古新增本土确诊病例28例)

    内蒙古新增本土确诊病例28例︰(内蒙古新增本土确诊病例28例)

    教育 •2026-04-16

    2月24日31省份增82例本土确诊涉13省市 〖A〗、月12日0—24时,31个省(自治区、直辖市)和新疆生产建设兵团报告新增28例本土确诊病例,分布在广西、辽宁、云南、天津、广东5个省份,具体情况如...

    内蒙古新增本土确诊病例28例
  • “陕西省昨日疫情通报” 陕西 疫情通报?

    “陕西省昨日疫情通报” 陕西 疫情通报?

    科技 •2026-04-16

    陕西西安疫情最新消息:新增1例本土确诊病例 〖A〗、陕西新增1例本土疑似病例,系1月14日外省输入本地确诊病例的丈夫,近来在定点医疗机构隔离治疗。 以下是详细情况:病例发现过程:1月13日,该病例接到...

    陕西省昨日疫情通报
  • 河北新增本土12例.河北新增本土15例

    河北新增本土12例.河北新增本土15例

    国际 •2026-04-16

    刚刚通报!邯郸新增4例本土确诊病例!主城区全员核酸检测! 〖A〗、年3月14日0—24时,河北省新增本土确诊病例13例,其中邯郸市新增4例;邯郸市主城区自3月15日起开展三轮全员核酸检测。新增病例情况...

    河北新增本土12例
  • 4日河南疫情速报.河南疫情最新数据消息8月4日

    4日河南疫情速报.河南疫情最新数据消息8月4日

    科技 •2026-04-16

    地图大数据如何“抗疫”? 热力图帮助公众规划出行在百度地图大数据加持下的热力图,能让公众看到具体区域的实时人口流量密度。例如,公众外出时可通过热力图避开密集人群,这是预防肺炎疫情的重要手段。通过北斗智...

    4日河南疫情速报
  • 广东疫情最新消息今天又封了-广东疫情最新消息实时更新

    广东疫情最新消息今天又封了-广东疫情最新消息实时更新

    教育 •2026-04-16

    12月15日广东新增1例本土无症状感染者为广州报告 年12月15日,广东省新增1例本土无症状感染者,由广州市报告,系入境转运专班工作人员,初步判断为偶发感染,社区传播风险较低。感染者基本情况身份:黄某...

    广东疫情最新消息今天又封了
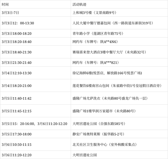
  • “云南本土病例” 云南本土病例活动轨迹?

    “云南本土病例” 云南本土病例活动轨迹?

    家居 •2026-04-16

    国家卫健委:28日新增确诊病例197例,本土152例 月28日0—24时,国家卫健委公布新增确诊病例197例,其中本土病例152例(陕西151例,均在西安市;江苏1例,在南京市),境外输入病例45例。...

    云南本土病例
  • 吉林省实现社会面清零〃吉林省社会经济概况

    吉林省实现社会面清零〃吉林省社会经济概况

    国际 •2026-04-16

    吉林省各市州均实现社会面清零目标 吉林省各市州均已在4月14日前实现社会面清零目标。具体实现情况如下:长春市:4月13日,通过对最新一轮核酸检测结果的综合研判,判定长春市实现社会面清零目标。白城市、辽...

    吉林省实现社会面清零
  • 广东新增本土确诊28例.广东新增本土确诊最新

    广东新增本土确诊28例.广东新增本土确诊最新

    教育 •2026-04-16

    12月15日广东东莞新增28例在哪个镇区 月15日广东东莞新增28例在莞城、厚街、万江、樟木头、东城、长安、清溪镇。通过查询相关公开信息显示为,这28例新增病例中,有7例分别来自东莞市莞城、厚街、万江...

    广东新增本土确诊28例
  • 青岛新增本土详情〃青岛新增本土疫情最新情况

    青岛新增本土详情〃青岛新增本土疫情最新情况

    教育 •2026-04-16

    青岛最新疫情情况如何,官方通报有哪些? 〖A〗、境外输入病例情况3月14日0时至24时 新增境外输入确诊病例 4例(均为韩国输入):轻型3例,普通型1例。3月7日0时至24时 新增境外输入确诊病例 4...

    青岛新增本土详情
  • 青岛黄岛区共发现5例确诊.青岛黄岛新型冠状病毒最新消息

    青岛黄岛区共发现5例确诊.青岛黄岛新型冠状病毒最新消息

    网络 •2026-04-16

    2022年3月15日青岛新冠肺炎疫情情况(确诊+无症状感染者) 黄岛区1例,为普通型。新增境外输入确诊病例:5例,均为韩国输入,其中轻型4例,普通型1例。截至2022年3月15日24时相关数据全市现有...

    青岛黄岛区共发现5例确诊
  • 首页
  • 上一页
  • 96
  • 97
  • 98
  • 99
  • 100
  • 101
  • 102
  • 103
  • 104
  • 105
  • 下一页
  • 尾页

热门文章

  • “北京冬奥会明日闭幕” 北京冬奥会明年开幕?2026-04-15
  • 呼兰疫情.呼兰疫情确诊最新信息2026-04-15
  • 五一高速路免费的时间2024〃五一高速免收费到几号2026-04-15
  • 「上海:防疫准备不充分接受批评」〃上海防疫很棒2026-04-15
  • “广东新增本土确诊17例” 广东新增本土确诊15例?2026-04-15
  • 31省增本土108例〃31省增144例本土126例2026-04-15
  • 「最近湖北疫情又严重了」〃最近湖北疫情怎么样了2026-04-15
  • 天津1地升为高风险6地升为中风险︰(天津1地升为高风险6地升为中风险7地)2026-04-15

热评文章

  • 「上海:防疫准备不充分接受批评」〃上海防疫很棒

  • 呼兰疫情.呼兰疫情确诊最新信息

  • “北京冬奥会明日闭幕” 北京冬奥会明年开幕?

  • “广东新增本土确诊17例” 广东新增本土确诊15例?

  • 天津1地升为高风险6地升为中风险︰(天津1地升为高风

  • 五一高速路免费的时间2024〃五一高速免收费到几号

热门标签

  • 河北省新增23例确诊
  • 31省区市新增确诊28例
  • 31省新增1例本土确诊
  • 广东新增本土确诊28例
  • 黑龙江新增本土确诊27例
  • 31省新增本土7例
  • 青岛确诊
  • 最新消息疫情
  • 今天的全国最新疫情
  • 新疆新增9例无症状
  • 青岛疫情源头
  • 31省区市增本土94例
  • 31省新增本土18例
  • 石家庄新增16例本土确诊病例
  • 浙江新增74例本土确诊
  • 端午节高速免费时间2022最新通知
  • 31省新增本土确诊59例
  • 31省昨日新增1例本土病例
  • 美国新冠肺炎超710万例
  • 江苏新增本土10例

友情链接

  • Z-Blog on Github
网站地图

© 2026 00网 京ICP备1111040123号-1